[Ann Hutchinson Guest says the following item needs to be discussed for the revision of the LN textbook. [For further items see Guest, Flexion/Extension thread, January 10, 2003; Guest, Spatial Locations and Directions thread, January 10, 2003]
In Motif 1a means a rotation of the whole body. To indicate it is of a body part, i.e. not of the body-as-a-whole, the body hold sign is placed at the base of the turn sign, 1b.
As soon as a part of the body, an area, a limb is stated, as in 1c, it should be clear that the turn sign is not for the body-as-a-whole but for a part of the body. With this information there should no longer be a need for the hold sign within the symbol.
However, Jane Dulieu’s experience is that students ask for the hold sign to be used in these examples as well, illustrated in 1d. They understand the difference between 1a and 1b and want all examples related to 1b to have the hold sign. This thinking lines up with symbol reinforcement rather than movement logic. If you know the rotation is for a body part, you then know you don’t need the hold sign.

As soon as the three-line staff is used, placement of these signs on the staff indicates whether the movement is for a body part or the body-as-a-whole, 1e.

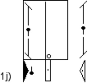
This same situation occurs with the signs for paths and for paths described by body parts. A basic path sign, such as 1f, is understood to be for the body-as-a-whole. To specify in Motif that it is for a body part, the hold sign is added at the base of the symbol, 1g.
As soon as a body part is indicated in Motif, a limb, or a specific limb, as in 1h, there should be no need for addition of the hold sign. Again, the established image of 1g, leads people to want the hold sign in examples such as in 1i.

Theoretically the hold sign should not be necessary; in the example of 1j there is no question about the paths being for the left leg and right arm gestures.

Dance Notation Bureau is a 501(c)(3) non-profit organization dedicated to the preservation, documentation, and dissemination of dance choreographies through Labanotation.
Dance Notation Bureau is a 501(c)(3) non-profit organization dedicated to the preservation, documentation, and dissemination of dance choreographies through Labanotation.